Опросный лист на КНС

Заполните параметры канализационной насосной станции — мы подготовим расчёт стоимости и коммерческое предложение в течение 1 рабочего дня.

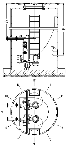
Схема КНС — вид сбоку и сверху с обозначениями элементов

Обозначения на схеме:

  1. Корпус КНС
  2. Направляющие
  3. Насос погружной
  4. Обратный клапан
  5. Задвижка
  6. Входной патрубок
  7. Напорный патрубок (выход)
  8. Вентиляция
  9. Электрокабель
  10. Пульт управления
  11. Лестница
  12. Крышка / люк

A — глубина корпуса, B — диаметр корпуса

Габариты корпуса
Патрубки
Насосное оборудование (поз. 3)
Комплектация
Условия эксплуатации
Контактные данные

Зачем нужен опросный лист на КНС?

Опросный лист — стандартный документ для заказа канализационной насосной станции. Он позволяет инженеру точно рассчитать параметры КНС: подобрать диаметр корпуса, глубину, насосное оборудование и комплектацию под конкретные условия объекта.

На основании заполненного опросного листа мы подготовим коммерческое предложение с точной стоимостью КНС, сроками изготовления и доставки. Все КНС производятся из полипропилена PP-H на нашем предприятии в Нижнем Новгороде.

Если вы не знаете точных параметров — заполните то, что известно, остальное рассчитают наши инженеры. Также можете воспользоваться калькулятором подбора КНС.